微信目前已經成為一個不可或缺的通訊工具。在帶寬有限的情況下,要保證微信的正常使用,究竟需要多大的帶寬呢?為了研究此問題,我們做了如下的測試。
1. 不做任何限速


如上圖所示,微信的初始化大概占用了50KBps的帶寬,而發送文字消息的帶寬占用則小于1kBps。
2. 設置50KBps限速


如上圖所示,設置上傳下載限速50KBps,微信的使用,包括文字語音消息、朋友圈都不受任何影響。
3. 設置10KBps限速


設置上傳下載限速10KBps時,微信的文字和語言消息仍然很順暢,基本沒有延時。但是刷朋友圈需要延時5秒左右,朋友圈的視頻和大圖片要等待更長時間才可以顯示出來。
4. 設置5KBps限速



設置5KBps限速時,文字消息仍然可以保持順暢,語音消息需要延時3秒。朋友圈則需要等待10秒以上。
5. 設置2KBps限速


當設置2KBps限速時,雖然微信仍然可以使用,但是文字消息都需要等待3-5秒,其他功能都基本用不了。
6. 總結
根據以上的測試,微信正常使用需要的最小帶寬,可以分如下幾個級別:
理想情況:50KBps
文本和語音消息功能:10KBps,文字語音消息順暢,朋友圈慢。
只保留文字消息:5KBps,文本消息可以順暢使用,其他功能慢。
其他的應用都可以用WFilter里面的“應用過濾”功能全部禁止掉。從而使客戶機只能使用微信。
還有一些相關數據,也公開給大家:
a. 微信打開30分鐘,不發任何消息。大約需要占用1.8MB流量。
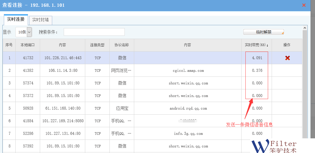
b. 發一條微信文字消息,大約需要占用10KB的流量。
c. 發一條微信語音消息(10秒),大約需要占用50KB的流量。
